Мы используем cookie для наилучшего представления нашего сайта. Подробнее об этом в Политике конфиденциальности.
Ок

Хасавюрт

Ваш город:
Хасавюрт (Республика Дагестан)?
Нет
Да
Каталог
Каталог Написать в WhatsApp
Мотоэкипировка

Коленвал, поршни и шатуны 4-Х ТАКТНОГО ПЛМ MERCURY 4 Серийный номер от 0P401000 и выше

Коленвал, поршни и шатуны 4-Х ТАКТНОГО ПЛМ MERCURY 4 Серийный номер от 0P401000 и выше в Хасавюрте: актуальный каталог, цены, фото, описание. Купите коленвал, поршни и шатуны 4-х тактного плм mercury 4 серийный номер от 0p401000 и выше в кредит – оформите заявку онлайн за 1 минуту!

Оригинальные запчасти

Артикул НАИМЕНОВАНИЕ Кол-во деталей в узле Примечание Наличие Цена Аналоги Фото
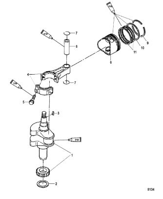
1 803515T Коленвал (CRANKSHAFT)

Под заказ

1

Под заказ

уточнить

Купить
2 803516 Шайба (WASHER)

Под заказ

1

Под заказ

уточнить

Купить
3 16053 Шпонка (KEY)

Под заказ

1

Под заказ

уточнить

Купить
4 8M0124936 Шатун (CONN ROD ASSY)

Под заказ

1

Под заказ

уточнить

Купить
5 804768A03 Поршень (PISTON-ASSY)

Под заказ

1

Под заказ

уточнить

Купить
6 8M0094922 PISTON RING SET

Под заказ

1

Под заказ

уточнить

Купить
7 898103113 Палец поршня (PIN-PISTON)

Под заказ

1

Под заказ

уточнить

Купить
8 803518T01 Кольца поршневые стд 4-6 4-т (RING SET, Piston)

Под заказ

1

Под заказ

уточнить

Купить
9 803518T02 RING SET, Piston

Под заказ

1

Под заказ

уточнить

Купить
10 804797T06 *** *Двигательный блок в сборе (PH 4-6 4S)

Под заказ

1

Под заказ

уточнить

Купить

Нулевая цена не означает отсутствие товара. Оформите заказ, и менеджер сообщит вам цену и наличие товара, предварительно запросив их у поставщика

Главная Магазины
Корзина0
Профиль