Мы используем cookie для наилучшего представления нашего сайта. Подробнее об этом в Политике конфиденциальности.
Ок

Хасавюрт

Ваш город:
Хасавюрт (Республика Дагестан)?
Нет
Да
Каталог
Каталог Написать в WhatsApp
Мотоэкипировка

Корпус шестерни приводной вал 4-Х ТАКТНОГО ПЛМ MERCURY 5 Серийный номер от 0R000001 до 0R067089

Корпус шестерни приводной вал 4-Х ТАКТНОГО ПЛМ MERCURY 5 Серийный номер от 0R000001 до 0R067089 в Хасавюрте: актуальный каталог, цены, фото, описание. Купите корпус шестерни приводной вал 4-х тактного плм mercury 5 серийный номер от 0r000001 до 0r067089 в кредит – оформите заявку онлайн за 1 минуту!

Оригинальные запчасти

Артикул НАИМЕНОВАНИЕ Кол-во деталей в узле Примечание Наличие Цена Аналоги Фото
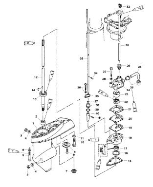
1 8M0122306 GEAR HOUSING 2S S

Под заказ

1

Под заказ

уточнить

Купить
2 8M0122307 GEAR HOUSING 2S L

Под заказ

1

Под заказ

уточнить

Купить
3 8M0122308 GEAR HOUSING

Под заказ

1

Под заказ

уточнить

Купить
4 825132T30 GEAR HSG. BASIC

Под заказ

1

Под заказ

уточнить

Купить
5 9621T6 GEAR HOUSING

Под заказ

1

Под заказ

уточнить

Купить
6 16124 Втулка (BUSHING)

Под заказ

1

Под заказ

уточнить

Купить
7 953683 Заглушка (PLUG-OIL)

Под заказ

2

Под заказ

уточнить

Купить
8 8M0082880 Прокладка (GASKET @3)

Под заказ

2

Под заказ

уточнить

Купить
9 16138 Шестерня (GEAR)

Под заказ

1

Под заказ

уточнить

Купить
10 16133 Водяной фильтр (WATER STRAINER)

Под заказ

1

Под заказ

уточнить

Купить
11 16134 Болт (SCREW, WATER STRAINER)

Под заказ

1

Под заказ

уточнить

Купить
12 16126 Болт (BOLT, GEAR HOUSING (REAR))

Под заказ

1

Под заказ

уточнить

Купить
13 16192 Шайба (WASHER@10)

Под заказ

1

Под заказ

уточнить

Купить
14 8M0076367 Вал приводной (DRIVESHAFT)

Под заказ

1

Под заказ

уточнить

Купить
15 8M0076368 Приводной вал (DRIVESHAFT)

Под заказ

1

Под заказ

уточнить

Купить
16 95347 Шарикоподшипник (BEARING-BALL)

Под заказ

1

Под заказ

уточнить

Купить
17 16155 Шпонка (KEY)

Под заказ

1

Под заказ

уточнить

Купить
18 16164003 Прокладка (+TH#369-65020-OBO)

Под заказ

1

Под заказ

уточнить

Купить
19 161631 Прокладка (SHIM)

Под заказ

1

Под заказ

уточнить

Купить
20 8132761 Прокладка (SHIM)

Под заказ

1

Под заказ

уточнить

Купить
21 16162 Сальник (SEAL)

Под заказ

1

Под заказ

уточнить

Купить
22 826053T Корпус (HOUSING Lower)

Под заказ

1

Под заказ

уточнить

Купить
23 16160004 Прокладка (+TH#369-65029-OBO)

Под заказ

1

Под заказ

уточнить

Купить
24 16159 Пластина основания помпы (PLATE-GUIDE)

Под заказ

1

Под заказ

уточнить

Купить
25 16158009 Прокладка (+TH#369-65018-OBO)

Под заказ

1

Под заказ

уточнить

Купить
26 161543 Крыльчатка водяного насоса (IMPELLER) от 3,3 л.с. до 6 л.с. 2-х тактные и 4-х тактные моторы

Под заказ

1

Под заказ

уточнить

1 990

Купить
27 16157 Втулка (LINER)

Под заказ

1

Под заказ

уточнить

Купить
28 16156 Корпус водяной помпы (PUMP-WATER)

Под заказ

1

Под заказ

уточнить

Купить
29 16167 Шланг (HOSE, WATER PUMP)

Под заказ

1

Под заказ

уточнить

Купить
30 16826 Шайба (WASHER@10)

Под заказ

4

Под заказ

уточнить

Купить
31 16171 Сальник (SEAL, LOWER WATER TUBE)

Под заказ

1

Под заказ

уточнить

Купить
32 16169 Трубка охлаждения (WATERTUBE SHORT)

Под заказ

1

Под заказ

уточнить

Купить
33 16170 WATER TUBE (LONG)

Под заказ

1

Под заказ

уточнить

Купить
34 18876 Заглушка (GROMMET, WATER TUBE)

Под заказ

1

Под заказ

уточнить

Купить
35 16173 Шток переключения передач (CAM ROD (SHORT))

Под заказ

1

Под заказ

уточнить

Купить
36 8M0058365 CAM ROD-LONG

Под заказ

1

Под заказ

уточнить

Купить
37 16179 Шпонка (PIN)

Под заказ

1

Под заказ

уточнить

Купить
38 16165 Фиксатор (RETAINER, CAM ROD BUSHING)

Под заказ

1

Под заказ

уточнить

Купить
39 823042 Болт (BOLT)

Под заказ

1

Под заказ

уточнить

Купить
40 161771 Уплотнительное кольцо (O RING)

Под заказ

1

Под заказ

уточнить

Купить
41 8M0135927 Втулка (BUSHING ORING KIT)

Под заказ

1

Под заказ

уточнить

Купить
42 16178 Уплотнительное кольцо ("O"RING, LOWER CAM ROD)

Под заказ

1

Под заказ

уточнить

Купить
43 16172 *** Копир кулачка (CAM-CLUTCH)

Под заказ

1

Под заказ

уточнить

Купить
44 16159A03 Рем. набор помпы F4-F6 (REPAIR KIT-W/P)

Под заказ

1

Под заказ

уточнить

Купить
45 8M0134073 GASKET SET

Под заказ

1

Под заказ

уточнить

Купить

Нулевая цена не означает отсутствие товара. Оформите заказ, и менеджер сообщит вам цену и наличие товара, предварительно запросив их у поставщика

Главная Магазины
Корзина0
Профиль